


产品介绍
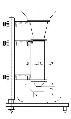
BT-101是一种松密度测试仪器,它采用斯柯特容量计法(Scott Volumeter),一般用于金属粉末的松装密度测试,同时也是中国药典、美国药典等推荐的松装密度的测试方法之一。BT-101 斯柯特法松装密度测试仪满足标准GB/T 1479.2-2011、ISO 3923-2、USP<616>EP 2.9.34和中国药典2020年版(通则0993),并可提供符合ASTM B329的定制产品。广泛用于制药与食品、工业化学、能源电池粉末、科研院校、质检机构等相关粉末及颗粒材料检测,可以反映粉体储藏性质的变化,特别是在料仓中的储存情况。

符合标准



操作步骤
● 量杯去皮:把空量杯放到天平称量去皮。
● 倒入样品:将量杯放在仪器底座上,用小勺将待测样品倒在BT-101上部组合漏斗的筛网上,粉末经过阻尼箱和方形漏斗后流入量杯中。
● 量杯装满样品:直到粉末在量杯形成锥体并有粉末从量杯口周围溢出为止。如果粉末不能自由地通过筛网,可用软毛刷子刷一刷,使粉末通过筛网。
● 刮平:用刮板刮平量杯。注意刮板与水平夹角45°左右,沿单方向刮平。
● 称重:将刮平后的量杯放到去皮的天平上,称量杯内的粉末重量,准确到0.05g。
试验结果的计算
● 结果计算:取三次测定结果的平均值报出结果,准确到0.01g/cm³。当三次测量结果之间的差值超过平均值的1%时,其大值和小值也要随结果报出。

式中:
